
Apple Watch serisi ile akıllı saat pazarından büyük bir pay elde eden Apple, kullanıcılara yeni özellikler sunmak için çalışıyor.
Şirketin son onaylanan patenti, saatlere yerleştirilen kamerayı gösteriyor. ABD Patent ve Ticari Marka Ofisi tarafından onaylanan yeni patent, Apple’ın akıllı saatlerine kamera yerleştirmesi için aldığı üçücnü patent olarak kayda geçti.
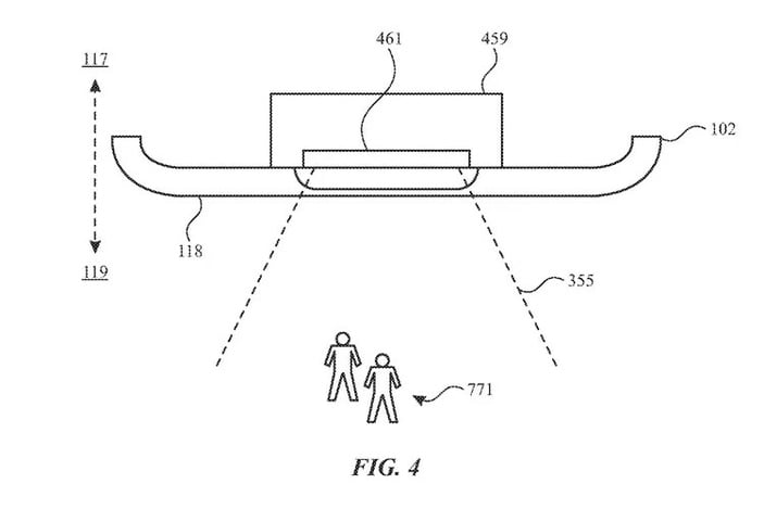
Patentteki Şekil 3, fotoğraf çekmek için kayışsız saat tutan bir kişiyi gösteriyor. Şekil 4 ise, aşağıya bakan yerleşik bir kameranın görüş açısını gözler önüne seriyor.


Apple’ın bu teknolojinin patentini alması, gelecekte Apple Watch’larda kamera göreceğimiz anlamına gelmiyor.
Ayrıca saatlere yerleştirilen kameralar, gizlilik endişeleri nedeniyle gelecekte Apple’ın başına işler açabilir.
Hürjet’in motoru çalıştırıldı: 18 Mart’ta havalanacak
1
OnePlus Ace 3 Tanıtıldı, İşte Özellikleri Ve Fiyatı
27635 kez okundu
2
Samsung Galaxy Tab Active 5 Tasarımı Sızdırıldı
4527 kez okundu
3
Vivo X Fold 3 ve X Fold 3 Pro Özellikleri Ortaya Çıktı
4316 kez okundu
4
Samsung Galaxy A55 Tasarımı Ortaya Çıktı
4296 kez okundu
5
Galaxy Unpacked Aktifliğinin Tarihi Doğrulandı
4287 kez okundu
Veri politikasındaki amaçlarla sınırlı ve mevzuata uygun şekilde çerez konumlandırmaktayız. Detaylar için veri politikamızı inceleyebilirsiniz.